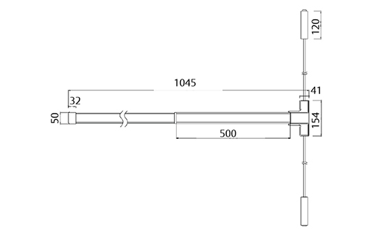
Mã sản phẩm AAED402 Kích thước AAED402